
封面新闻记者 王一理专业的网上股票配资
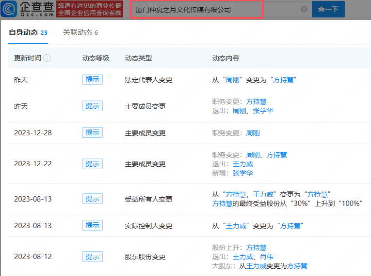
企查查APP显示,近日,肖战前工作室厦门仲夏之月文化传媒有限公司发生工商变更,周刚卸任法定代表人、执行董事职务,张学华卸任监事,方持慧由经理变更为经理、董事、法定代表人。

据了解,厦门仲夏之月文化传媒有限公司成立于2019年9月,注册资本为300万元,由方持慧全资持股。此前,肖战经纪人王力威已卸任该公司经理职务,并退出股东行列。此外,该公司已申请注册多枚“肖战”相关商标,并将“战 XZ·STUDIO”转让给北京竹报文化传媒有限公司。当前,北京竹报文化传媒有限公司为视频号“肖战工作室”认证主体。

今年7月,肖战微博账号从原名称“X玖少年团肖战DAYTOY”变更为“肖战”,实现个人账号标识的彻底独立。记者查询获悉,肖战的简介修改,加上了《藏海传》,去掉了《余生请多指教》《王牌部队》,保留了《陈情令》。

值得一提的是,肖战前工作室关联公司厦门仲夏之月文化传媒有限公司成立于2019年9月,注册资本300万人民币,经营范围包括电影和影视节目制作、电影和影视节目发行、文艺创作与表演等,由方持慧全资持股。知识产权信息显示,该公司曾申请注册多枚“肖战”商标,国际分类包括医疗器械、灯具空调、运输工具等,目前上述商标均已被驳回,处于无效状态。
(图据企查查)专业的网上股票配资
益配资开户提示:文章来自网络,不代表本站观点。